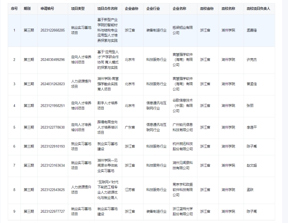
6月14日,教育部高校学生司正式发布《关于公布教育部第三期供需对接就业育人项目立项名单的通知》(教就业司函〔2024〕23号),9001jcc金沙以诚为本9个供需对接就业育人项目获批立项,其中定向人才培养项目3个、人力资源提升项目2个、就业实习基地项目4个。
供需对接就业育人项目旨在深入贯彻党中央、国务院关于“稳就业”“保就业”的决策部署,深化产教融合、校企合作,推动学校人才培养与就业有机联动、人才供需有效对接。为进一步拓宽就业市场,提升人才培养质量,探索协同育人新渠道,金沙官网积极响应号召,招生就业处和相关学院本着“申报促合作”的目的,多次组织项目申报论证,与多家用人单位紧密合作,共同申报。经过教育部专家组的严格审核,金沙官网的9个项目成功入选第三期供需对接就业育人项目名单。
此次9个项目成功立项,不仅是对学校在产教融合、校企合作方面长期努力的肯定,也为学校进一步拓宽人才培养思路、实现人才供需的有效匹配提供了新的契机。下一步,学校将以供需对接就业育人项目实施为契机,为项目实施提供环境和条件支持,与用人单位加强交流合作,高效推进项目实施,按时完成项目结题验收工作,提升校企协同就业育人成效,帮助毕业生实现高质量充分就业。



